Patentes
25 of February,2026
POKÉMON GO: ¡HAZTE CON TODAS LAS PATENTES!
Por: Natalia Lamprea y María Alejandra Figueroa
Se están cumpliendo los 30 años de Pokémon, el videojuego que combina creaturas con poderes, regiones y entrenadores y que fue creado por Satoshi Tajiri, un aficionado de los insectos. Este logró desarrollarse como videojuego con la ayuda de Shigeru Miyamoto, quien le da alcance dentro de la consola Game Boy de Nintendo (De la Iglesia, 2023).
Pero es también momento de recordar a Pokémon GO en sus 10 años, uno de los juegos derivados del consorcio Pokémon. En 2016, Pokémon GO introdujo una nueva forma de jugar en el celular, en la que los jugadores recorren el mundo real mientras su avatar digital los sigue en un mapa representativo de su entorno físico, a esto se le llamó juegos de realidad paralela basados en ubicación. Este fue uno de los juegos más destacados para impulsar la realidad virtual (Figura 1).

Figura 1. Entorno de la aplicación Pokémon GO®
El armazón de este juego virtual está hecho de marcas, algunos registros de derecho de autor, pero principalmente de patentes. El desarrollador principal fue Niantic Inc, una empresa que anteriormente era subsidiaria de Google y que se escindió en 2015. Antes de Pokémon GO, Niantic Inc había desarrollado Ingress, un juego basado en la visita a puntos de referencia reales. Por ello, para 2016, Niantic Inc contaba con una cartera de patentes estadounidenses relacionadas con juegos de realidad paralela.
The Pokémon Company figura como licenciante de Niantic, permitiendo el uso de los personajes y del universo Pokémon en su juego de realidad paralela. Para desarrollar Pokémon GO, Niantic Inc necesitaba los derechos sobre estos “monstruos de bolsillo”, y las negociaciones se facilitaron por el interés del director ejecutivo de The Pokémon Company, Tsunekazu Ishihara, en el juego Ingress (creado algos años atrás antes de Pokémon GO).
La primera y más relevante de las patentes base para Pokémon GO fue la US8968099 presentada en el año 2012 y titulada “Sistema y método para transportar objetos virtuales en un juego de realidad paralela”. Este sistema permite a los jugadores transferir objetos virtuales y reflejarlos en la geografía del mundo real. Esto crea una experiencia de juego dinámica y conectada, donde la interacción con el mundo real influye en el juego virtual. La titularidad de esta patente era compartida con Google Inc. (ahora Alphabet Inc), situación que cambiaría en patentes posteriores dada la independencia que adquiría Niantic Inc.
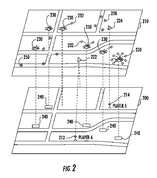
Por su parte, la patente US9669296, presentada en el año 2013, trata sobre vinculación de actividades del mundo real con un juego de realidad paralela. A medida que los jugadores se mueven en el mundo real, pueden interactuar con elementos virtuales que se añaden a lugares específicos, lo que fomenta la actividad comercial y la recolección de datos en su entorno. Aquí las acciones en el juego pueden traducirse en recompensas reales, incentivando a los jugadores a explorar y participar en su comunidad (Figura 2). Esta es la patente de las Pokeparadas y Gimnasios y la forma como se vincularon los establecimientos comerciales en Pokémon GO.

Figura 2. Patente US9669296, figura 2 donde se detalla superposición de imágenes virtuales sobre imágenes reales.
Otras funciones relevantes, fueron apareciendo posteriormente a medida que se hacía masivo el uso de Pokemon GO. Así, la patente US9226106 (del año 2015), permite que cada jugador reciba solo la información relevante para su situación al filtrar la comunicación, lo que mejora la interacción y la estrategia en el juego. Es la patente empleada para personalizar la experiencia de juego durante eventos como el Pokémon Fest, donde miles de jugadores estaban interactuando al mismo tiempo.
En los años recientes, Nintendo y The Pokemon Company han blindado mecánicas que son vitales para proteger la identidad de sus juegos frente a competidores, como es lanzar la pokébola para capturar los personajes en el Pokémon GO. La pieza central de esta estrategia es la patente US 12403397, presentada en marzo de 2023 y otorgada en septiembre de 2025, famosa por ser el arma legal en disputas contra videojuegos como Palworld. Esta patente cubre la “mecánica de lanzamiento e invocación”, describiendo esa acción específica donde apuntas y captura; o donde apuntas y lanzas un objeto (como una Pokébola) cerca de un enemigo para que tu propio monstruo salga automáticamente a pelear, convirtiendo esa interacción tan intuitiva en una propiedad exclusiva de Pokémon.
Por otro lado, para mejorar cómo los jugadores transitan por el entorno, registraron la patente US12409387, presentada en marzo de 2024, la cual protege el “cambio suave de montura”. Esta tecnología es la que permite que la exploración no se sienta interrumpida en el videojuego, de forma que el jugador pueda pasar de ir corriendo a que monte un Pokémon y empiece a nadar o volar sin tener que pausar o abrir menús del juego (Figura 3). En Pokémon GO esto se aplica de forma simplificada, siendo la clave para que la aventura moderna se sienta rápida, fluida y sin cortes.

Figura 3. Patente US12409387, figura 9, detallando la interacción del Pokémon con otros personajes del entorno.
El tema de la tecnología de realidad aumentada (RA) actualmente tiene sus debates activos. Así, en 2020, NantWorks LLC demandó a Niantic, Inc. alegando que Pokémon GO infringía su patente US10403051 (de Nant Holdings IP LLC) sobre integración de objetos virtuales en entornos reales mediante realidad aumentada. Aunque esta patente es posterior a las primeras de Niantic (que son de 2012), resultó relevante porque reclamaba aspectos más amplios de la infraestructura técnica de RA, no solo la lógica del juego basado en geolocalización. Lo que muestra cómo patentes más recientes pueden superponerse funcionalmente con tecnologías previas dependiendo del alcance de sus reivindicaciones. Sin embargo, el tribunal cuestionó parte de esas reivindicaciones por considerarlas abstractas bajo el §101 estadounidense, por lo que la demanda de NantWorks LLC fue desestimada.

Más tarde, en 2024, ImagineAR Inc. también demandó a Niantic Inc invocando varias patentes sobre interacción y captura en RA (US8777746, US8668592 y US8579710), evidenciando que el ecosistema de Pokémon GO no solo depende de los titulares históricos de la franquicia, sino que está inserto en un entorno competitivo donde distintas empresas buscan hacer valer sus desarrollos tecnológicos frente a una de las plataformas de RA más exitosas del mundo.
Veremos qué pasa en tribunales en los próximos 10 años, por ahora, ¡feliz aniversario Pokémon GO!
Figura 4: Fan Art, Cortesia Martin E Conde Bernal
Referencias bibliográficas
De la Iglesia, A. (2023). Pokémon: El videojuego que se hizo con todo. Heroes de Papel.
Brachmann, S. (2016, 10 de agosto). Pokemon Go developer Niantic owns three patents on location-based gaming. IPWatchdog.com